淋雨试验箱GB 4208-2008/IEC60529:200测试标准,推荐使用科赛德品牌淋雨试验箱639cc全民彩IPX3、IPX4,完全能符合使用标准。
1 范围和目的
本标准适用于额定电压不超过72.5KV,借助外壳防护的电气设备的防护分级。
本标准的目的如下:
a) 规定电气设备下述内容的外壳防护等级:
1) 防止人体接近壳内危险部件:
2) 防止固体异物进入壳内设备;
3) 防止由于水进入壳内对设备造成有害影响。
b) 防护等级的标识。
c) 各防护等级的要求。
d) 按本标准的要求对外壳作验证试验。
各类产品引用外壳防护等级的程度和方式,以及采用何种外壳,留待产品标准决定,对具体的防护等级所采用的试验应符合本标准的规定,必要时,在有相产品标准中可增加补充要求。可在有关产品标准中作具体规定的细则见附录B。
对特殊型式的设备,产品标准可以规定不同的要求,但至少要保证相同的安全水平。
本标准仅考虑在各方面都符合有关产品标准规定的外壳,在正常使用条件下,外壳的材料和工艺应保证达到所需要的防护等级。
639cc全民彩如果某类设备满足试验一般要求而且所选择的防护等级适用于该设备型式,则本标准也适用于该型式设备的空外壳。
639cc全民彩有关机械损坏、锈蚀、腐蚀性溶剂(如切割液)、霉菌、虫害、太阳辐射、结冰、潮湿(如凝露引起的)、爆炸性气体等外部影响或环境条件对外壳和壳内设备破坏的防护措施以及防止下外壳外部危险运动部件(如风扇)的接触由有关产品标准规定。
639cc全民彩不与外壳连接的隔板以及专门为人身安全设置的阻挡物,不看作外壳的一部分,本标准不予以研究。
2 规范性引用文件
下列文件中的条款通过本标准的引用而成为本标准的条款。凡是注日期的引用文件,其随后所有的修改单(不包括勘误的内容话)修订版均不适用于本部分,然而,鼓励根据本标准达成协议的各方研究是否可使用这些文件的最新版本。凡是不注日期的引用文件,其最新版本适用于本标准。
GB/T 311.2-2002 绝缘配合 第2部分 高压输变电设备的绝缘配合使用导则(eqv IEC 60071-2:1996)
BG/T 2421-1999 电工电子产品环境试验 第1部分:总则(idt IEC 60068-1:1988)
IEC 60050-195:1998 国际电工词汇 第195章:接地和电击防护
IEC 60050-826:1982 国际电工词汇 第826章:建筑物电气装置
639cc全民彩
IEC 60068-2-68:1994 环境试验 第2部分:试验 试验L:灰尘和沙尘
3 术语和定义
639cc全民彩下列术语和定义适用于本标准。
3.1
外壳:
能防止设备受到某些外部影响并在各个方向防止直接接触的设备部件。
注:本条定义来自现行国际电工词汇(IEV),在本标准的范围内作如下解释:
1) 外壳提供人或畜接近壳内危险部件的防护。
2) 防止或限制本标准规定的试具进人的隔板,形成孔洞或其他开口的部件,不论是附在外壳上还是包覆设备的,都算作外壳的一部分,不使用钥匙或工具就能移除的部件除外。
3.2
直接接触
人或畜与带电部分的接触。
注:本IEV定义给出信息,本标准中“直接接触”被“接近危险部件”取代。
3.3
防护等级
按标准规定的检验方法,外壳对接近危险部件、防止固体异物进入或水进入所提供的保护程度。
3.3
IP代码
表明外壳对人接近危险部件、防止固体异物或水进入的防护以及与这些防护有关的附加信息的代码系统。
3.5
危险部件
接近或接触时有危险的部件。
3.5.1
危险带电部件
受到某些外部影响条件会导致电击的带电部件。
(IEC 60050-195-1995,195-06-05)
3.5.2
危险机械部件
接触时有危险的运动部件。光滑旋转轴除外。
3.6
外壳对接近危险部件的防护
外壳对人体:
——接触危险的低压带电部件的防护;
——接触危险的机械部件的防护;
——在外壳内部小于足够的间隙接近危险的高压带电部件的防护。
注:这种防护可借助于:
——外壳本身;
——作为外壳一部分的隔板或借助于壳内距离来达到。
3.7
防止接近危险部件的足够间隙
能防止试具与危险部件接触或接近的距离。
3.8
触及试具
能方便地模仿人体的一部分或模仿工具或类似物,由人手持着来检验距离危险部件是否有足够间隙的检验工具。
3.9
物体试具
模仿固体异物检验其进入外壳的可能性的检验工具。
3.10
开口
639cc全民彩
外壳本身设置的或通过试具施加规定的外力后形成的孔洞或缝隙。
4 标识
外壳提供的防护等级用IP代码以下述方式表示。
4.1 IP代码的配置

不要求规定特征数字时,由字母“X”代替(如果两个字母都省略则用“XX”代替)。
附加字母和(或)补充字母可省略,不需代替。
当使用一个以上的补充字母时,应按字母顺序排列。
当外壳采用不同安装方式提供不同的防护等级时,制造厂应在相应安装方式的说明书上表明该防护等级。
639cc全民彩
外壳的标识方法详见第10章。
4.2 IP代码的各要素及含义
IP代码各要素的简要说明见下表。详细说明见表中最后一栏所标明的章条。


4.3 IP代码应用举例
以下是IP代码的应用及字母配置示例,更多的示例见第9章。
IP44——无附加字母,无可选字母。
IPX5——省略第一位特征数字。
IP2X——省略第二位特征数字。
IP20C——使用附加字母。
IPXXC——省略两位特征数字,使用附加字母。
IPX1C——省略第一位特征数字,使用附加字母。
IP3XD——省略第二位特征数字,使用附加字母。
IP23S——使用补充字母。
IP21CM——使用附加字母和补充字母。
IPX5/IPX7——针对不同的作用,给出防喷水和防短时间浸水的两种不同的防护等级。
5 第一位特征数字所表示的防止接近危险部件和防止固体异物进入的防护等级
标识第一位特征数字表示5.1和5.2两个条件都能满足。
第一位特征数字意指:
——外壳通过防止人体的一部分或人手持物体接近危险部件对人提供防护,同时
——外壳通过防止固体异物进入设备对设备提供防护。
当外壳也符合低于某一防护等级的所有各级时,应仅以该数字标识这一个等级。
如果试验明显地适用于任一较低防护等级时,则低于该等级的试验不必进行。
5.1 对接近危险部件的防护
表1给出对接近危险部件的防护等级的简短说明和含义。
表中仅由第一位特征数字的规定,试具与危险部件之间保持足够的间隙。
试验见第12章。

5.2 对于固体异物进入的防护
表2给出对防止固体异物(包括灰尘)进入的防护等级的简短说明和含义。
表中仅由第一位特征数字规定防护等级,简要说明和含义不作为防护等级的规定。
防止固体异物进入,当表2中第一位特征数字1或2时,指物体试具不得完全进入外壳,意即球的整个直径不得通过外壳开口。第一位特征数字为3或4时,物体试具完全不能进入外壳。
数字为5的防尘外壳,允许在某些规定条件下进入数量有限的灰尘。
数字为6的尘密外壳,不允许任何灰尘进入。
注:第一位特征素质为1至4的外壳应能防止三个相互垂直的尺寸都超过表3第三栏相应数字、形状规则或不规则的固体物体进入外壳。
试验见第13章。

第二位特征数字所表示的防止水进入的防护等级
第二位特征数字表示外壳防止由于进水而对设备造成有害影响的防护等级。
试验用清水进行。试验前不得用高压水和(或)使用溶剂清洗试样。
表3给出了第二位特征数字所代表的防护等级的简要说明和含义。简要说明和含义不作为防护等
级的规定。
试验见第14 章。
第二位特征数字为6 及低于6 的各级,其标识的等级也表示符合低于该级的各级要求。因此,如果
试验明显地适用于任一低于该级的所有各级,则低于该级的试验不必进行。
仅标志第二位特征数字为7 或8 的外壳仅适用于短时间浸水或连续浸水,不适合喷水(第二位特征
数字标识为5 或6),因此不必符合数字为5 或6 的要求,除非有下示的双标志。

“多用”指外壳必须满足可防喷水又能短时或持续潜水的要求。
“受限”指外壳仅仅对短时或持续潜水适合,而对喷水不适合。

7 附加字母所表示的防止接近危险部件的防护等级
附加字母表示对人接近危险部件的防护等级。
附加字母仅用于:
一接近危险部件的实际防护高于第一位特征数字代表的防护等级;
第一位特征数字用“X”代替,仅需表示对接近危险部件的防护等级。
例如,这类较高等级的防护是由挡板、开口的适当形状或与壳内部件的距离来达到的。
表4 列出了能方便地代表人体的一部分或人手持物体以及对接近危险部件的防护等级的含义等内
639cc全民彩
容,这些内容均由附加字母表示。

如果外壳适用于低于某一等级的各级,则仅要求用该附加字母标识该等级。如果试验明显地适用
于任何低于该级的所有各级,则低于该等级的试验不必进行。
试验见第15章。
IP代码的示例见附录A。
8 补充字母
在有关产品标准中,可由补充字母表示补充的内容。补充字母放在第二位特征数字或附加字母
补充的内容应与本标准的要求保持一致,产品标准应明确说明进行该级试验的补充要求。
补充内容的标识字母及含义如下:

其他字母可在产品标准中使用。为了避免重复使用补充字母,产品标准引用新字母的要求见B.8。
若无字母S和M,则表示防护等级与设备部件是否运行无关,需要在设备运行和静止时都做试验。
但如果试验在另一条件下明显地可以通过时,一般做一个条件的试验就足够了。
9 IP代码的标识示例
9.1 未使用可选择字母的IP代码

外壳带有上述IP代码,其中:
(3)一防止人手持直径不小于2.5 mm 的工具接近危险部件;
一一防止直径不小于2.5 mm 的固体异物进人设备外壳内。
防止由于在外壳各个方向溅水对设备造成有害影响。
使用可选择字母的IP代码
9.2 使用可选择字母的IP代码:

外壳带有上述IP 代码,其中:
(2)一一防止人用手指接近危险部件;
防止直径不小于12.5 mm的固体异物进人外壳内。
(3)一防止淋水对外壳内设备的有害影响。
(C)一防止人手持直径不小于2.5 mm 长度不超过100 mm 的工具接近危险部件(工具应全部穿
过外壳,直至挡盘)。
防止进水造成有害影响的试验是在所有设备部件静止时进行。
639cc全民彩
(S)一防止进水造成有害影响的试验是在所有设备部件静止进行。
10 标志
产品标准应对标志的要求做出规定。
对于下述情况,产品标准应对标志方法也做出适当规定;
当外壳的一部分与另一部分的防护等级不同时;
安装位置对防护等级有影响时;
639cc全民彩
一一须说明最大潜水深度和时间时。
11 试验一般要求
防水防尘试验的环境条件
11.1 防止防尘试验的环境条件
除非有关产品标准另有规定,试验应在GB/T 2421-1999 规定的标准环境条件下进行。
试验时,推荐的环境条件如下:
温度范围:15C~35C;
相对湿度:25%~75%;
大气压力:86 kPa~106 kPa(860 mbar~1060 mbar)。
试样
11.2 试样
本标准规定的试验是型式试验。
除非产品标准另有规定,每次试验用样品应是清洁的新制品。所有部件应按制造厂指定的状态安
装就位。
如试验不能以整台设备进行,应以有代表性的部件或以有相同比例设计的较小的设备进行。
有关产品标准应对以下类似细节做出规定:
一试样数量;
一试样安装、组合、定位的条件(如天花板、地板或墙上安装);
注: 这也用于设备计划与其他相关设备一起使用时,比如器件单独使用或组合使用时。
一预处理的方法(如有);
一试验时带电与否;
一试验时部件运转与否。
如果产品标准没有规定细节,应由制造厂说明书规定。
试验要求的应用与试验结果判断
11.3 试验要求的应用与试验结果判断
试验一般要求的应用及设备有泄水孔、通风孔时试验的接受条件由有关产品标准规定。如无这些规定,应按本标准的规定进行。
试验结果的判断由有关产品标准规定。如没有规定,本标准的接受条件应作为最低要求。
11.4 第一位特征数字试验条件的组合
标识第一位特征数字意味着满足该数字的所有试验条件。
第一位特征数字的试验条件见表5。


11.5 空外壳
如果被试外壳内部没有设备,外壳的制造厂应在说明书中详细说明危险部件或者会因异物或水进
人而造成影响的部件所在的位置及预留的空间。
最后组装的生产厂应能保证电气设备封装进外壳后满足最终产品的防护等级的要求。
12 第一位特征数字所表示的对接近危险部件防护的试验
12.1 试具
接近危险部件防护试验的试具见表6。
12.2 试验条件
试具被推人或(当第一位特征数字为2 试验时)插人外壳的任何开口所用的力由表6 规定。
进行低压设备的试验时,在试具与壳内危险部件之间串接一个指示灯,并供以40 V~50 V 之间的
安全特低电压”。如果危险带电部件表面有一层漆膜或氧化层或有其他类似方法的保护,则试验时包
覆一层金属箔,并与正常工作时带电的部件作电联结。
本指示灯电路也可用于高压设备的危险运动部件。
如有可能,应使外壳内的运动部件缓慢运动。
12.3 接受条件
如果试具与危险部件之间有足够的间隙,则防护合格。
第一位特征数字为1的试验,直径50 mm的试具不得完全进人开口。
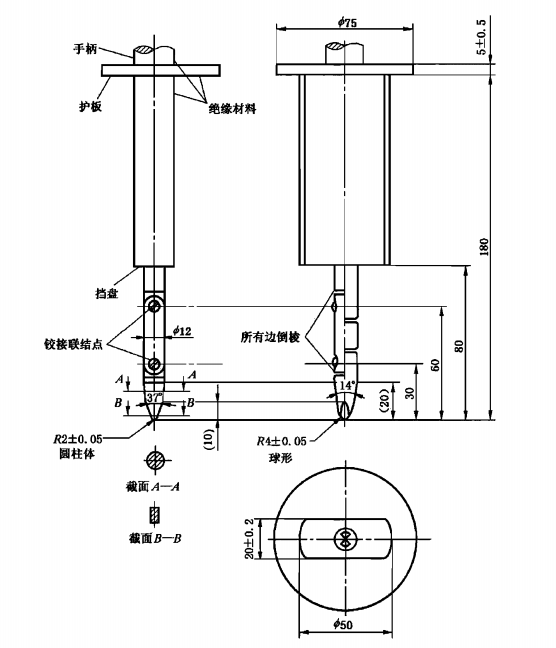
第一位特征数字为2 的试验,铰接试指可进人80mm 长,但挡盘($50 mmX20 mm)不得进人开口。
从直线位置开始,试指的两个接点应绕相邻面的轴线在90^范围内自由弯曲。应使试指在每一个可能
的位置上活动。
示例见附录A。
本标准中“足够的间隙”指:
12.3.1对于低压设备(额定电压:交流不超过1kV,直流不超过1.5 kV)
试具不能触及危险带电部件。
1)从安全角度考虑,试指与壳内带电部分之间所接指示灯的电源电压应为安全特低电压,IEC 60529:1989 规定此
电源电压在“40 V~50 V之间的特低电压”。


如果足够的间隙是通过试具与危险部件间的指示灯电路来检验,试验时指示灯应不亮。
注: 某些型式的电气设备内部产生的最高电压(工作电压的方均根值或直流值)比设备的额定电压值要高。产品标
准在确定耐电压试验的电压和足够的间隙时,应考虑这个最大电压值的影响。
12.3.2 对于高压设备(额定电压:交流超过1kV,直流超过1.5 kV)
当试具放在最不利的位置时,设备应能承受有关产品标准规定的适用于该设备的耐电压试验。
检验还可通过观察规定的空气中的间隙尺寸来确定。这个间隙应能保证在最不利的电场分布下通过耐电压试验(见GB/T 311.2)。
如果外壳包括有不同电压等级的几个部分,应对每一部分确定足够间隙的适当验收条件。
注: 某些型式的电气设备内部产生的最高电压(工作电压的方均根值或直流值)比设备的额定电压值要高。产品标
准在确定耐电压试验的电压和足够的间隙时,应考虑这个最高电压值的影响。
12.3.3 对有危险的机械部件的设备
试具不得触及危险的机械部件。
如果足够的间隙是通过试具与危险部件之间的指示灯电路来检验,试验时指示灯应不亮。
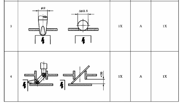
13 第一位特征数字所表示的防止固体异物进入的试验
13.1 试验方法
试验方法和主要试验条件见表7。
13.2 第一位特征数字为1.2.3、4 的试验条件
物体试具推人外壳开口所用的力由表7 规定。

639cc全民彩13.3 第一位特征数字为1.2.3、4 的接受条件
639cc全民彩如果试具的直径不能通过任何开口,则试验合格。
注: 表7中第一位特征数字为3和4 的试具用来模仿球形异物。对于必须检验的开口所使用的物体试具,如果外壳
开口的孔道不贯通或者是弯曲的.对可运动的球形物体能否进人有怀疑,可检查图纸或对待检查处设计一个专
用通道.并用物体试具以规定的力推向该处。
639cc全民彩
13.4 第一位特征数字为5 和6 的防尘试验
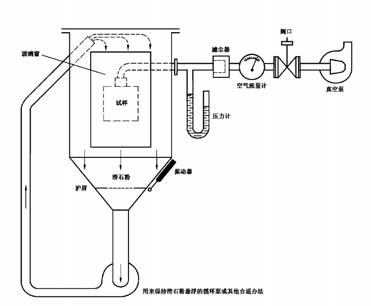
试验应在防尘箱中进行,其基本原理如图2 所示。密闭试验箱内的粉末循环泵可用能使滑石粉悬
浮的其他方法代替。滑石粉应用金属方孔筛滤过。金属丝直径50 pm,筛孔尺寸为75 pm。滑石粉用
量为每立方米试验箱容积2 kg,使用次数不得超过20 次。
注: 滑石粉的选用应符合人体健康与安全的各项规定。
外壳类型须为下列二者之一:
第一种类型:设备正常工作周期内壳内的气压低于周围大气压力,例如因热循环效应引起的。
第二种类型:外壳内气压与周围大气压力相同。
对于第一种类型的外壳:
被试外壳放在试验箱内,壳内压力用真空泵保持低于大气压。抽气孔应连到专为试验设置的孔上。
如果专门的产品标准没有规定,这个孔应设在紧靠易损部件的位置。
如果不能设置专门的孔,抽气管应连在电缆入口上。如还有其他的孔(如更多的电缆人口或泄水
639cc全民彩
孔),这些孔应保持正常使用状态。
试验目的是利用压差把箱内空气抽人被试设备内,抽气量为80倍被试外壳容积,抽气速度每小时不超过60 倍外壳容积。任何情况下压差不得超过2 kPa(20 mbar).
如抽气速度为每小时40~60 倍外壳容积,则试验进行2 h。
如最大压差为2 kPa(20 mbar),而抽气速度低于每小时40倍外壳容积,则应连续抽满80 倍容积或抽满8 h后,试验才可停止。
对于第二种类型的外壳:
被试外壳按正常工作位置放人试验箱内,但不与真空泵连接。在正常情况下开启的泄水孔,试验期
间应保持开启。试验持续8 h。
对于上述两种类型的外壳,如不能将整台设备置于试验箱内作试验,可选用下列方法之一进行:
用外壳的各个封闭部分作试验;
a)
用外壳有代表性的部件试验,包括组件(如门、通风孔、接头、轴封等),试验时这些部件应安装
b)
就位;
用具有相同结构、按比例缩小的设备进行试验。
c)
对于后两种情况,试验时抽出设备的空气体积,应与整台设备时规定相同。
13.5 第一位特征数字为5 的特殊条件
第一位特征数字为5 的试验条件
13.5.1 除了有关产品标准规定外壳为第二种以外,外壳都看作第一种。
13.5.2 第一位特征数字为5 的接受条件
试验后,观察滑石粉沉积量及沉积地点,如果同其他灰尘一样,不足以影响设备的正常操作或安全,
即认为试验合格。除非有关产品标准明确规定了特例,在可有沿爬电距离导致漏电起痕处不允许有灰
尘沉积。
13.6 第一位特征数字为6 的特殊条件
13.6.1 第一位特征数字为6 的试验条件
无论外壳内压力是否减至低于大气压力,都看作是第一种外壳。
13.6.2 第一位特征数字为6 的接受条件
试验后壳内无明显的灰尘沉积,即认为试验合格。
14 第二位特征数字所表示的防止水进入的试验
试验方法
14.1 试验方法
试验方法和主要试验条件见表8。

-760x369.png)
14.2 试验条件
试验方法和主要试验条件见表8。
防护等级的细节,特别是第二位特征数字为5/6(喷水)和7/8(潜水)见第6 章。
试验用清水进行。
进行IPX1至IPX6的试验,水温与试验时试样的温差应不大于5 K。如果水温低于试样超过5 K,
应使外壳内外保持压力平衡。IPX7试验水温的要求见14.2.7。
试验时,壳内水分可能有部分冷凝。凝露水的沉积不要误以为是进水。
外壳表面积的计算误差应在10%以内。
639cc全民彩
设备在带电情况下试验时,要采取足够的安全措施。
14.2.1 第二位特征数字为1的滴水箱试验
试验用设备应能在外壳整个面上产生均匀水流。这种设备的示例如图3a)。
外壳置于转速为1r/min 的转台上,偏心距(转台轴线与试样轴线的距离)大约为100 mm。
外壳在滴水箱下面置于正常工作位置,滴水箱底部应大于的俯视图面。除安装在墙上或天花板上
的设备外,被试外壳的支承物应比外壳底部小。
对安装在墙上或天花板上的设备,应按正常使用位置安装在木板上,木板的尺寸等于设备在正常使
用时与墙或天花板的接触面积。
试验进行10 min。
注: 当滴水箱底部比被试外壳小时,被试外壳可分成几部分,每部分外壳表面的大小应能使滴水设备足以将其覆
盖。试验进行到把外壳的全部表面滴水至规定时间止。
14.2.2 第二位特征数字为2 的滴水箱试验
滴水箱的规定同14.2.1。
调节水流速度,使其符合表8 规定。
不同于第二位特征数字为1的试验,支承外壳的台不旋转。
被试外壳在四个倾斜的固定位置各试验2.5 min,这四个位置在两个互相垂直的平面上与垂线各
倾斜15^(见图3b))。
试验总持续时间为10 min.
第二位特征数字为3 的摆管或淋水喷头试验
14.2.3 试验(按相关产品标准的规定)用图4 和图5 示意的两种试验设备之一进行。
使用图4 试验设备(摆管)的条件
按表9 规定调节总的水流量,并用水流计测量。
摆管中点两边各60“弧段内布有喷水孔。支承物不必打孔。
被试外壳放在摆管半圆中心。摆管沿垂线两边各摆动60^,共120*,每次摆动(2X120^)约需4 s,试验持续时间5 min。然后把外壳沿水平方向旋转90^,再试验5 min。
摆管最大允许半径为1600 mm。
如果某些型式的设备试验时外壳所有部分不能全部淋湿,可上下调整外壳支承物。这种情况
应优先使用图5 所示手持试验设备(淋水喷头)。
b)
使用图5试验设备(淋水喷头)的条件
本试验应安装带平衡重物的挡板。
调节水压,使达到规定出水量。所需压力在50 kPa~150 kPa 的范围。试验期间压力应维持
恒定。
试验时间按外壳表面积计算每平方米lmin(不包括安装面积),最少5 min.
14.2.4 第二位特征数字为4 的摆管或淋水喷头试验
试验(按相关产品标准的规定)用图4 和图5 示意的两种试验设备之一进行。
a) 使用图4 试验设备(摆管)的条件
喷水孔布满于摆管半圆180内。按表9 规定调节水流量,并用流量计测量。

摆管沿垂线两边各摆动180^,共约360”,每次摆动(2X360*)约需12 S。
试验进行10 min.
如果有关产品标准未做规定,被试外壳的支承物应开孔,以避免成为挡水板。将摆管在每一方
向摆动到最大限度,使外壳在各方向都受到溅水。
b)使用图5 试验设备(淋水喷头)的条件
从喷头上除去平衡重物的挡板,使外壳在各个可能的方向都受到溅水。
水流速度和每单位面积的溅水时间如14.2.3 规定。
14.2.5 第二位特征数字为5 的6.3 mm 喷嘴试验
用图6 所示标准试验喷嘴在所有可能的方向向被试外壳喷水。
要求的试验条件如下:
a)喷嘴内径:6.3 mm;
b)水流量:(12.5士0.625)L/min;
c)水压:按规定水流量调节;
d)主水流的中心部分:离喷嘴2.5 m处直径约为40 mm的圆;
e)外壳表面每平方米喷水时间:约1min;
f)试验时间:最少3 min;
g)喷嘴至外壳表面距离:2.5 m~3 m。
639cc全民彩14.2.6 第二位特征数字为6 的12.5 mm喷嘴试验
用图6 所示标准试验喷嘴在所有可能的方向向被试外壳喷水。
要求的试验条件如下:
a) 喷嘴内径:12.5 mm;
b) 水流量:(100士5)L/min;
c) 水压:按规定水流量调节;
d) 主水流的中心部分:离喷嘴2.5 m处直径约为120mm的圆;
e)外壳表面每平方米喷水时间:约1min;
f)试验时间:最少3 min;
g)喷嘴至外壳表面距离:2.5 m~3 m。
14.2.7 第二位特征数字为7 的0.15 m~1m的短时间潜水试验
被试外壳按生产厂规定的安装状态全部浸人水中,并满足下列条件;
a) 高度小于850 mm 的外壳的最低点,应低于水面1000 mm;
b) 高度等于或大于850 mm 的外壳最高点,应低于水面150 mm;
c) 试验持续时间30 min;
639cc全民彩
d) 水温与试样温差不大于5 K。如果试样需在带电和(或)在运行状态进行试验时,有关产品标准可对本要求另作规定。
14.2.8 第二位特征数字为8 根据协议的持续潜水试验
若无相应的产品标准,试验条件应由生产厂和用户协商,但条件应比14.2.7 规定的严酷而且要考虑到在实际使用中外壳持续潜水的要求。
14.3 接受条件
外壳经14.2.1~14.2.8 规定的试验后,应检查外壳进水情况。
如可能,有关产品标准应规定允许的进水量及耐电压试验的细节。
一般说来,如果进水,应不足以影响设备的正常操作或破坏安全性;水不积聚在可能导致沿爬电距
离引起漏电起痕的绝缘部件上;水不进人带电部件,或进人不允许在潮湿状态下运行的绕组;水不积聚
在电缆头附近或进人电缆。
如外壳有泄水孔,应通过观察证明进水不会积聚,且能排出而不损害设备。
639cc全民彩
对没有泄水孔的设备,如发生水积聚并危及带电部分时,有关产品标准应规定接受条件。
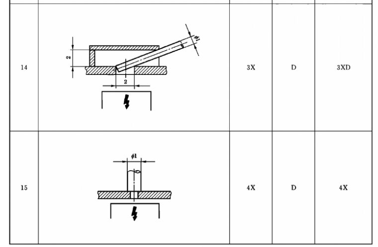
15 附加字母所表示的接近危险部件防护的试验
15.1 试具
验证防止人接近危险部件的试具按表6 规定。
15.2 试验条件
将试具以表6 规定的力推向外壳的任何开口。如试具能进人一部分或全部进人,应在每一个可能
的位置上活动,但挡盘不得穿人开口。
内部隔板按3.1规定可视为外壳的一部分。
对于低压设备的试验,应在试具与壳内危险部件之间串接一指示灯,并供以40 V~50 V 的安全特
低电压。如果危险的带电部件表面有一层漆膜或氧化层或有其他类似方法的保护时,试验时应包覆一层金属箔,并与正常工作时带电的部件作电联结。
本指示灯电路也可用于高压设备的危险运动部件。
如有可能,应使外壳内的运动部件缓慢运动。
15.3 接受条件
如果在试具与危险运动部件之间保持足够的间隙,则试验合格。
在进行附加字母B的试验时,铰接试指可进人外壳80 mm的长度,但挡盘($50 mmX20 mm)不得
通过开口。从直线位置开始,试指的两个铰接点应绕相邻面的轴线在90“范围内自由弯曲,应使试指在
每一个可能的位置上活动。
在进行附加字母C 和D 的试验时,试具可进人其全部长度,但挡盘不得通过开口。详见附录A。
验证足够间隙的条件与12.3.1.12 .3.2 和12.3.3 规定相同。















